Bolen St 120 Wiring Diagram


Clinical Applications And Animal Studies Book Chapter Iopscience

Clinical Applications And Animal Studies Book Chapter Iopscience

Bolens G11xl Wiring Diagram Diagram Base Website Wiring Diagram

Bolens G11xl Wiring Diagram Diagram Base Website Wiring Diagram

Full Article Overview Of Hydroxyapatite Graphene Nanoplatelets

Full Article Overview Of Hydroxyapatite Graphene Nanoplatelets


Riding Mower Starting System Wiring Diagram Part 1 Youtube

Riding Mower Starting System Wiring Diagram Part 1 Youtube

D95f8f5 Bolens St 120 Wiring Diagram Wiring Library

D95f8f5 Bolens St 120 Wiring Diagram Wiring Library

E93fe Bolens St 120 Owner Manual Wiring Library

E93fe Bolens St 120 Owner Manual Wiring Library

Catalysts Free Full Text Preparation Of Visible Light

Catalysts Free Full Text Preparation Of Visible Light

Bolens G14 Wiring Diagram Bali Bali Tintenglueck De

Bolens G14 Wiring Diagram Bali Bali Tintenglueck De

Bolens 12a 446t163 User Manual Lawn Mower Manuals And Guides L0403325

Bolens 12a 446t163 User Manual Lawn Mower Manuals And Guides L0403325

St Series

St Series

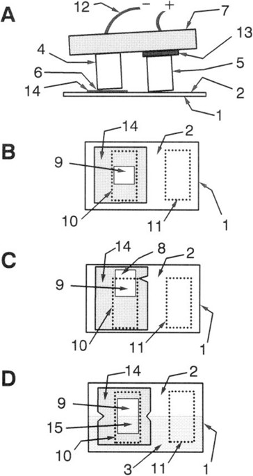
Electroporation Of Adherent Cells In Situ For The Introduction Of

Electroporation Of Adherent Cells In Situ For The Introduction Of

St120 3212h Headlights Not Working Any Ideas My Tractor Forum

St120 3212h Headlights Not Working Any Ideas My Tractor Forum