Hall Effect Distributor Wiring Diagram


Holley Hp Efi With Mallory 42 Series Distributor And Mallory

Holley Hp Efi With Mallory 42 Series Distributor And Mallory

Sensor Twin Hall Effect Pick Up

Sensor Twin Hall Effect Pick Up

Dk 8012 Chevy Hei Distributor Wiring Diagram Further Gm Hei 4 Pin

Dk 8012 Chevy Hei Distributor Wiring Diagram Further Gm Hei 4 Pin


Allegro Microsystems A3163 Hall Effect Switch For 2 Wire

Allegro Microsystems A3163 Hall Effect Switch For 2 Wire

How Capacitor Discharge Ignition Cdi System Works And Its Advantage

How Capacitor Discharge Ignition Cdi System Works And Its Advantage

Hall Effect Transistor Ignition Youtube

Hall Effect Transistor Ignition Youtube

Https Encrypted Tbn0 Gstatic Com Images Q Tbn 3aand9gctmmwnksaiohvvdjzxxmaml1dqy0o4 Hxvbrnbweacww2wb0pxe Usqp Cau

Https Encrypted Tbn0 Gstatic Com Images Q Tbn 3aand9gctmmwnksaiohvvdjzxxmaml1dqy0o4 Hxvbrnbweacww2wb0pxe Usqp Cau

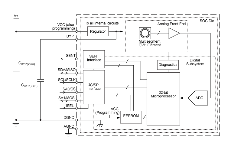
A1335 Precision Hall Effect Angle Sensor Ic With I C Spi And

A1335 Precision Hall Effect Angle Sensor Ic With I C Spi And

Diy Auto Service Permanent Magnet And Hall Effect Sensor

Diy Auto Service Permanent Magnet And Hall Effect Sensor

A3144 Hall Effect Sensor Problems

A3144 Hall Effect Sensor Problems

Troubleshooting For Pertronix Ignitor And Coil Installation

Troubleshooting For Pertronix Ignitor And Coil Installation

55100 Series Hall Effect Sensors From Magnetic Sensors And Reed

55100 Series Hall Effect Sensors From Magnetic Sensors And Reed