Hydrofoil Schematic


2 972 How A Hydrofoil Works

2 972 How A Hydrofoil Works

Joint Stock Company Volga Shipyard

Joint Stock Company Volga Shipyard

Yojoe Com Moray

Yojoe Com Moray


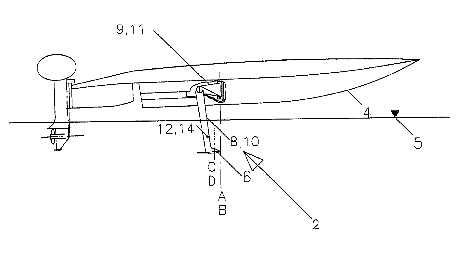
Hydrofoil Boat Stabilizer Diagram Schematic And Image 11

Hydrofoil Boat Stabilizer Diagram Schematic And Image 11

Discontinuity Of Lift On A Hydrofoil In Reversed Flow For Tidal

Discontinuity Of Lift On A Hydrofoil In Reversed Flow For Tidal

Charm Lab Engr1052016 Connor Anderson Ben Cohen

Charm Lab Engr1052016 Connor Anderson Ben Cohen

Influence Of Cavitation On The Hydroelastic Stability Of

Influence Of Cavitation On The Hydroelastic Stability Of

Hydrofoils

Hydrofoils

Numerical Study Of The Hydrodynamic Performance Of Two Wiggling

Numerical Study Of The Hydrodynamic Performance Of Two Wiggling

Analytics For Us Patent No 8857363 Hydrofoil Arrangement

Analytics For Us Patent No 8857363 Hydrofoil Arrangement

Wfoil 18 Albatross Ww1 Seaplane With Modern Hydrofoil Design Can

Wfoil 18 Albatross Ww1 Seaplane With Modern Hydrofoil Design Can

4 Types Of High Performance Marine Vehicles

4 Types Of High Performance Marine Vehicles