
Audi a3 20 tdi engine diagram. Audi fault codes dtc. The first hundred is achieved audi s3 after only 48 seconds. The cylinder block is made of gray cast iron. This new engine belongs to the ea189 family vw emission scandal which including the 16 tdi engine and 3 cylinder 12 tdi engine also.
But the most important difference between the audi s3 is the brand new 20 liter tfsi engine with dual fuel injection 300 hp. Volkswagen audi 20 tdi cr ea189 engine review the 20 tdi common rail engine is based on previous version the 20 tdi pd engine. With a torque of 380 nm capable of accelerating the audi s3 to 250 km h. It is a fwd vehicle with s tronic transmission with hill hold assist sirius satellite radio leather seats and steering wheel auxiliary audio input dual zone climate control 17 in 432 mm alloy wheels.
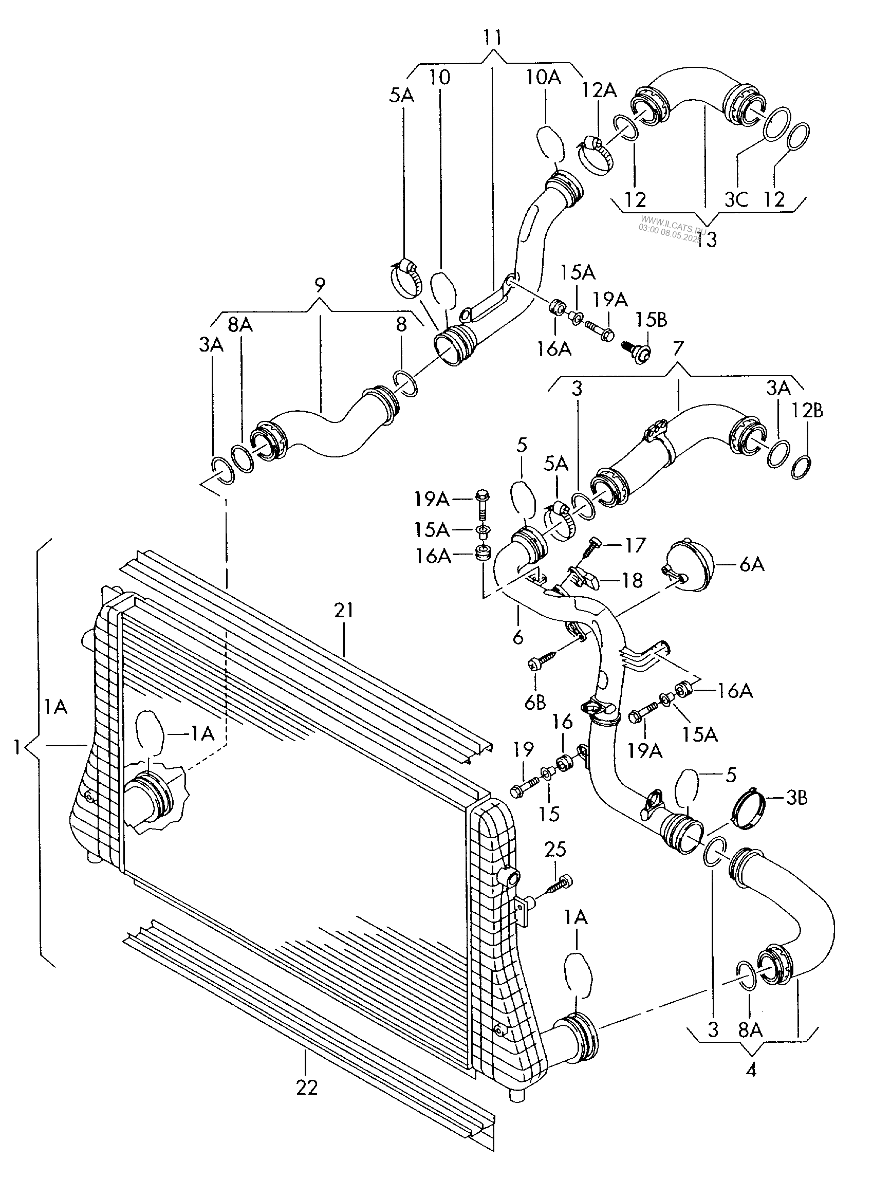
How to change a turbo on an audi a3 20 tdi you need a 2008 audi chilton repair manualto replace turbo you have at least 60 components you have to remove in order to replace turbocharger me telling you in writing wont help you need to look at parts diagram to see parts you have to remove and disconnect. 2015 vw golf. The a3 20 tdi clean diesel is a version of audis a3 20 tdi for the north american market making it the second audi tdi vehicle sold in north america following the audi q7 tdi in 2008. A 2010 vw jetta tdi is shown but this also works on 2009 vw jetta sportwagen tdi 2010 vw golf tdi and 2010 2013 audi a3 tdi with the 20l cbea or cjaa engine.
The history of the audi a3 model dates back to 1996 when the three door hatchback came out on the european market. Audi owner service manuals pdf above the page 80 100 200 allroad quattro a3 s3 a4 a5 a6 r8 rs2 rs4. Automobile plant audi automobil werke began its work in 1909. The company was created after the departure of august.
Today this german company belongs to the car concern volkswagen. This engine is the redeveloped 19 liter tdi engine. Audi one of the most recognizable in the world of automobile brands. The audi a3 8p 2003 2013 have 2 fuse boxes location.
The ideological heir to the 1974 audi 50 was based on the pq34 platform with mcpherson ramps in front but unlike the one summer golf of those years the audi a3 received a multi purpose suspension in the back instead of a torsion bar. Learn whats new and different to give it more power efficiency and lower emissions. The 20 tdi engine belongs to the ea188 family.